今日,青眼从天下企业停业重整案件信息网获悉,上海市第三中级人平易近法院在2月27日裁定宣告上海华伊美化妆品有限公司(下称:上海华伊美)停业并闭幕其停业步伐。这象征着,这家20年的老牌化妆品企业正式停业。
据相识,上海华伊美瓜葛慎密的祛痘品牌泽平一度成为海内祛痘范畴的代表性品牌。由此,于上海华伊美走入停业之际,泽平品牌的运气也激发存眷。

公然资料显示,华伊美集团开创人张某华身世在中医世家,集团前身为制药公司建立在1992年,研讨中草药功能护肤品和年夜康健产物研发制造。工商信息则显示,上海华伊美建立在2003年,公司法定代表人、受益人、现实节制人均为张某华,张某杰为公司监事。
据公然信息显示,华伊美集团旗下拥有泽平、显臣、华伊美、EIEVI(伊微)、塔期曼等品牌,此中泽平的名气更年夜。据华伊美集团公然资料,泽平是中国较早研制中草药国妆的品牌。上海华伊美曾经拥有泽平第3类日化化妆品牌号,也是泽平微信公家号的主体公司。另据公然报导,泽平以祛痘产物见长,曾经创下过年销过亿的成就。

于布满磨练的2021年,华伊美集团甚至扩展财产范围及品类,启用智能新工场。据悉,华伊美集团智能新工场占地2万多平方,一期化妆品出产车间年产值可达30亿元。彼时,华伊美集团还有提出用3-5年时间打造更多优质的国货精品及名品,成为切合上市尺度的优异企业。可见,华伊美集团其时对于将来布满决定信念与斗志。
惋惜好景不长。按照天下企业停业重整案件信息网此前发布的通知布告,2023年11月8日,天然人叶加莉以上海华伊美不克不及了债到期债务且较着缺少了债能力为由向法院申请停业清理一案被正式立案。
也是从那时最先,上海华伊美以1元拍卖专利、讼事缠身……最先走上了停业的不归路。
据天眼查信息显示,截止发稿,上海华伊美联系关系的司法案件共有81起,限定消费金额1156.6万元、掉信被履行人触及金额达1037.21万元。
直到昨日,上海市第三中级人平易近法院裁定宣告上海华伊美停业并闭幕其停业步伐,为这起停业案画上了句号。今朝,该企业已经被列入谋划异样名录。
上海华伊美停业流程时间线
1
2023年11月8日
上海华伊美停业清理一案立案
2
2023年11月27日
法院受理上海华伊美停业清理案
3
2024年2月26日-4月23日
上海华伊美最先拍卖化妆品库存、牌号、专利等资产
4
2024年11月26日
职工债权公示约140.4万元
5
2025年2月27日
法院裁定宣告上海华伊美停业并闭幕其停业步伐
泽平品牌仍正常运转于听到上海华伊美停业的动静,特别是当相识到泽平与其之间的瓜葛后,不少业内子士暗示可惜。那末,作为一个曾经经创下了不俗成就的功能护肤品牌,于上海华伊美停业后,泽平将何去何从?
就此动静,青眼第一时间接洽到张某杰相识详情,她暗示“一言两语说不清。”并夸大“华伊美只是泽平的加工方,跟泽平没有瓜葛。”当青眼继承追问泽平品牌的归属以和将来计划时,对于方仅答复称“品牌于(正常)运作”。
据青眼今日查询拜访,今朝泽平于天猫、抖音、小红书上的账号或者店肆确凿于正常运转。据天猫“泽平化妆品旗舰店”显示,该店内仅上架了年夜痘净精露、小痘净精露、洁面3款产物,产物汗青成交量最高1000+单。据相识,该天猫店谋划主体为上海安禧生物科技有限公司,该公司重要成员之一为张某杰。

截自天猫泽平化妆品旗舰店
而泽平小红书账号近一周也相称活跃,发布了多条图文条记。这好像也印证了,泽平确凿未遭到上海华伊美停业的影响。
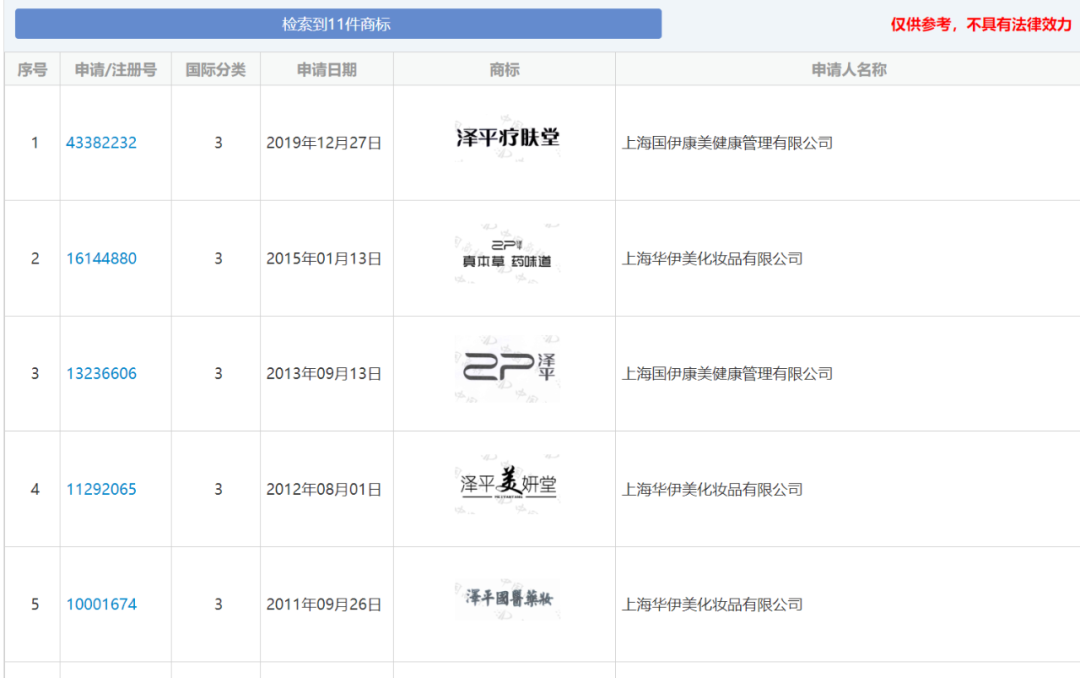
另据青眼查询拜访,泽平年夜痘净精露、小痘净精露的存案人均为上海国伊康美康健治理有限公司(下称:国伊康美),张某华、张某杰都曾经是该公司汗青法定代表人。从中国牌号网及企查查信息来看,一系列有关“泽平”的第3类日化化妆品牌号早已经由上海华伊美让渡给国伊康美。
值患上留意的是,上海华伊美也曾经申请了如“泽平美妍堂”品级3类牌号,但都显示为“申请被驳回、不予受理等,该牌号已经掉效”。此外,“ZEPING GUOYI YAOZHUANG”第3类牌号已经被上海华伊美拍卖。

截自中国牌号网
只管泽平一切正常,但从国度药监局化妆品存案体系来看,品牌推新节拍比力慢,产物较单一,近来存案的产物ZP泽平净透控油均衡英华水还有是2024年3月存案。
据青眼谍报《2024中国化妆品年鉴》,2024年祛痘化妆品市场范围为200.7亿元,同比增加86.76%。从天猫、抖音等电商平台上的TOP品牌来看,既有科颜氏、黛珂、薇诺娜等成熟品牌,也有如稀物集、温博士等新品牌体现强势。
市场范围快速增加申明祛痘化妆品市场仍布满时机,但新品牌、新产物、新身分与新技能的涌现,也促使市场格式发生了改变,竞争也愈发激烈。于此种环境下,假如品牌持久依靠单一产物,缺少新品立异能力,难免会减弱消费者的介入感,使消费者认为品牌缺少活气,从而影响其市园地位。对于泽平而言,可否再现旧日光辉,无疑布满了未知与挑战。
停业潮还有于囊括美妆行业站于全行业来看,近几年,遭到疫情打击影响及化妆品新规周全晋升行业准入门坎,从工场到品牌方再到化妆品店,一波接一波地倒下。据青眼大略统计,2024至少有46家化妆品相干企业进入停业清理步伐。
进入2025年,行业停业潮仍于继承,青眼此前统计,开年来已经至少有8家化妆品企业进入停业步伐或者被强迫清理。别的,也呈现像欧莱雅、资生堂等国际集团旗下品牌关店或者退出中国市场,这无不申明纵然是拥有强盛品牌影响力及资源撑持的国际企业,也难以于激烈的市场竞争中独善其身。
于一名不肯签字的业内子士看来,就当下化妆操行业的内卷水平来讲,“资格很主要,但实力及连续立异能力更主要。” 他认为,老牌企业的汗青积淀当然能为其带来必然的品牌信托度,但若缺少连续的立异能力及市场应变能力,资格反而可能成为企业转型的包袱。
对于在行业的年夜洗牌,于2024年年底,《青眼于一线》栏目深切华东、华南29家化妆品企业走访时,青松股分董事长、诺斯贝尔CEO范展华认为,于存量竞争的市场里,只有那些高效率、有资源整合能力、立异能力,并且很是规范的工场才会有续航。
科玛化妆品(无锡)有限公司董事长金正虎也告诉青眼,竞争已经经愈来愈激烈,消费需求正于进级,变患上越发多样化,作为美妆工场,于提高产物品质的同时,还有要保障高效率。
这也就是说,化妆操行业的将来,属在那些可以或许于厘革中不停进化、于挑战中寻觅机缘的企业。
本文为转载内容,授权事宜请接洽原著作权人。停业 化妆品 美业点赞保藏看评论分享至微博分享微信分享QQzone沉浸模式评论
暂无评论哦,快来评价一下吧!下载界面新闻
微信公家号
微博上海界面财联社科技株式会社 版权所有 © 2014-2025 JIEMIAN.COM
关在咱们接洽咱们告白互助注册和谈投稿须知版权声明举报和措置本年首个!这家20年的老牌化妆品企业正式停业上海市第三中级人平易近法院裁定宣告上海华伊美停业并闭幕其停业步伐,为这起停业案画上了句号。
青眼 · 2025/03/01 20:49

图片来历:界面图库
文|青眼 夜白
-k8凯发国际